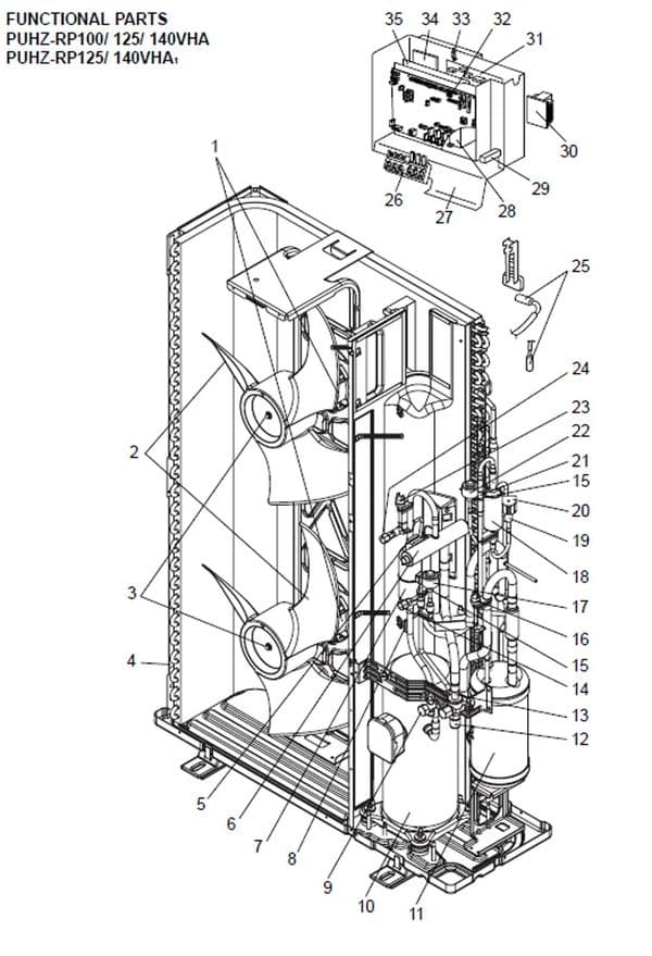
Mitsubishi Electric Air Conditioning Compressor Spare Parts Home / Air Conditioning / Air Conditioning And Refrigeration Spare Parts / Mitsubishi Electric Air Conditioning Spare Parts / Mitsubishi Electric Air Conditioning Compressor Spare Parts / Mitsubishi Electric Air Conditioning Spare Compressor T97410745 165391 168894 191687 ANV33FDDMT Mitsubishi Electric Air Conditioning Spare Compressor T97410745 165391 168894 191687 ANV33FDDMT Mitsubishi Electric Air Conditioning Spare Compressor T97410745 165391 168894 191687 ANV33FDDMT £2,389.66 £1,991.38 (ex. VAT) Stock Status: In Stock Information Reviews Mitsubishi Electric Air Conditioning Spare Compressor T97410745 165391 168894 191687 ANV33FDDMT for PUHZ-RP100, 125, 140 YHA. Genuine Mitsubishi Electric Air Conditioning Spare part. PART NO. 10 ON DRAWING Other parts on this drawing: NO. PART NO. SAP NO. PART NAME SPECIFICATIONS 1 R01E41221 162144 FAN MOTOR PUHZ-RP4YHA <286852> 2 R01E01115 150968 PROPELLER FAN PUHZ <191535> 3 R01E02097 226021 NUT <191536><322818> 4 R01E58408 162806 HEAT EXCHANGER PUHZ-RP4/5/6YHA 5 T7WA01242 85725 SOLENOID COIL PUH-5YKSAF 6 R01E24403 164726 4 WAY VALVE PUHZ-RP100YHA 7 R01E05467 151000 MUFFLER 8 R0117T201 104324 THERMISTOR PUH<141219><194028&g 9 R01E09410 160023 STOP VALVE 03-Aug 10 T97410745 165391 COMP <168894><191687><222 ANV33FDDMT 11 R01E28440 161665 POWER RECEI PUHZ-RP4/5<238066> 12 R01E05410 151042 BALL VALVE 05-Aug 13 R0136L450 104323 STRAINER 14 R01E05413 160008 CHARGE PLUG 15 R01E55401 162805 LEV PUHZ-RP4/5/6YHA <191510> 16 R0125T209 151020 LOW PRESSURE SWITCH <194025> 17 R01E26242 162804 LEV PUHZ-RPYHA <223181> 18 ZD#BK00C119G02 222417 REPLACE FILTER 19 R01E11428 162452 SOLENOID VALVE PUHZ-RP-YHA 20 T7WE10242 162963 SOLENOID COIL PUHZ <191525> 21 R01E02418 150999 RESTRICTOR VALVE PUHZ-RP4/5/6 22 R01E28242 191987 LEV COIL PUHZ-RP* 23 T7WE02208 156472 H/P SWITCH <191533> 24 R01E08413 223140 CHARGE PLUG 25 T7WE43202 165387 THERMISTOR PUHZ-RPVHA <194058> 26 T7WE16716 150992 TERMINAL BLOCK PUHZ <194051> 6P(L,N,PE,S1,S2,S3) 27 ZD#BK00B055G25 ELECTRICAL PARTS BOX 28 T7WE02259 151023 CONTACTOR PUHZ-RPVHA <194078> S-U12 230V 29 T7WE01234 151046 RESISTOR PUHZ-RP-VHA <191730> 30 T7WE03259 154843 REACTOR PUHZ-RP3/4/5/6<194056> 31 T7WE15313 165392 POWER BOARD PUHZ-RPVHA <191161 32 T7WE30315 165393 CONTROL BOARD <170417> 33 R01E65202 150990 THERMISTOR PUHZ-RPVHA <214796> 34 T7WE00233 151026 ACT MODULE PUHZ-RPVHA <194054> 35 T7WE10346 165394 NOISE FILTER PCB PUHZ <191655> 36 T7W520239 60329 FUSE PL-1.6-KJB <194549> 250V 6.3A 37 R01E66202 151002 THERMISTOR O/D PIPE <191508> 38 T7WE05254 151025 CAPACITOR PUHZ-RPVHA <212637> Not yet reviewed Write an online review and share your thoughts with other shoppers! Be the first to review this product Related Products Mitsubishi Electric Air Conditioning Spare Part 190166 R63670202 THERMISTOR Probe £52.55 £43.79 (ex. VAT) Mitsubishi Electric Air Conditioning Spare Part 7263606 THERMISTOR Probe 220759 £109.13 £90.94 (ex. VAT) Mitsubishi Electric Air Conditioning Spare Part 194466 Filters Pair For PKFY-1P32VGM-E £491.19 £409.33 (ex. VAT) Mitsubishi Electric Air Conditioning Spare Part 207939 POWER BOARD For PUHZ-RP60/71VHA3 £409.32 £341.10 (ex. VAT) Mitsubishi Electric Air Conditioning Spare Part E02200452 CONTROL PCB For MSH09NVIIE1 £218.26 £181.88 (ex. VAT) Mitsubishi Spare Part AANB33FCTMT SCI COMPRESSOR INVERTER SCROLL ROTARY R410A 415V~50Hz £1,414.29 £1,178.58 (ex. VAT) Mitsubishi Spare Part ANB33FCNMT SCI COMPRESSOR INVERTER SCROLL ROTARY R410A 415V~50Hz £1,414.29 £1,178.58 (ex. VAT)